山东威力重工生产的定制封头拉伸机-4500吨封头模压机-封头冲压成型液压机采用四柱液压机结构简单经济实用,它是由上横梁、滑块、工作台,立柱、主缸以及液压系统组成。它的显著特点是工作空间宽敞,整机结构简单,工艺性好。机身采用上横梁、活动横梁,工作台和四根立柱组成,工作缸安装在上横梁,活动横梁和工作缸的活塞连接,以立柱为导向做上下运动,并传递工作缸的内产生力量,对于工件进行压力加工。公司还可设计定做储存罐封头拉伸成型机、钢瓶封头拉伸机、不锈钢封头拉伸液压机、碳钢封头拉伸机等,封头拉伸机从315吨-5500吨,公司都可为客户按需定做。热压封头液压机总公称力范围为8000kN~150000kN,冷压封头总公称力范围为6300kN~60000kN,其主机的开口高度、滑块行程、工作台面、拉伸压边力等可根据用户需求和压制工艺的需要来确定。采购定做封头拉伸机、封头冲压成型液压机设备,联系公司张经理:18306370898(可加微信)

4500吨封头拉伸机
封头拉伸机-4500吨封头模压机-封头冲压成型液压机的特点:
1、 封头拉伸机-4500吨封头模压机-封头冲压成型液压机四柱式结构性能简单、经济、实用;框架式结构钢性好、精度高、抗偏载能力强;
2、 油压控制采用整体式插装阀集成系统,减少了泄露点,动作可靠,使用寿命长;
3、 封头拉伸机-4500吨封头模压机-封头冲压成型液压机采用PLC控制的电气系统结构紧凑,工作灵敏、可靠,柔性好;
4、 工作压力、行程可在规定范围内按工艺要求调节,操作简便;
5、 具有调整、双手单次循环、(带送料装置的)连续工作三种操作方式;
6、 通过操作面板选择,不仅可实现定程、定压两种成型工艺,而且可实现有垫、无垫、顶出三种工艺操作循环。
可选附件或功能:
1、移动工作台
2、冲裁缓冲装置
3、压边滑块、液压垫四角分别调压装置(拉伸不对称零件)
4、光电保护装置
5、触摸用浮动导轨和滚动托架
6、模具快速夹紧机构
7、行程、压力、数度数显数装控置
8、触摸工业显示屏
9、液压系统加热、冷却装置

4500吨封头模压机
封头拉伸工艺:
封头拉伸机-4500吨封头模压机-封头冲压成型液压机拉伸工艺如图所示,凸模固定于拉伸滑块上的上模快换装置及接筒上,模圈安装于压边滑块内,根据不同规格工件采用不同规格模圈,压边圈固定于模圈上,凹模固定于移动工作台上,顶出旋转装置固定于下横梁内。

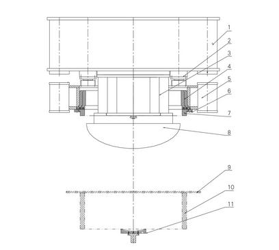
封头拉伸液压机拉伸工艺图示
1-拉伸滑块2-压边缸3-上模快换装置及接筒4-模圈5-压边滑块6-压边圈安装法兰7-压边圈8-凸模9-工件10-凹模11-顶出旋转装置

封头拉伸流程图
封头拉伸机-4500吨封头模压机-封头冲压成型液压机拉伸运动流程图所示,状态一为液压机初始位置,状态二为拉伸滑块和压边滑块在拉伸缸的驱动下一起快速接近工件,状态三为拉伸滑块不动,压边滑块下行压边圈压住工件,状态四为压边滑块不动(有压边力)拉伸滑块下行拉伸工件,状态五为拉伸滑块、压边滑块退回到位,顶起旋转装置顶起工件。其工艺流程为:液压机初始位置→拉伸滑块与压边滑块一起快降→压边滑块单独快降→压边滑块加压→拉伸滑块下行拉伸工件→保压延时及卸压→拉伸滑块压边滑块回程→顶起旋转装置顶起工件→(工件移走后)顶起旋转装置退回。顶起旋转装置顶出起始时间可由滑块的回程中设定的位置激发,以提高工作频次。
控制系统:
1、封头拉伸机-4500吨封头模压机-封头冲压成型液压机的液压系统设计,需要实现对拉伸滑块、压边滑块的压力进行独立控制,保证生产过程中拉伸滑块和压边滑块的压力可实时控制,互不干扰。封头拉伸机-4500吨封头模压机-封头冲压成型液压机的拉伸、压边、顶出分别设置了独立的液压控制回路,在各回路中设置了压力比例控制阀、压力传感器,通过压力传感器将压力信号转变为电信号传输给PLC,可实现数字显示和压力比例控制,以实现封头成形件的压边和拉伸、顶出等工艺。
2、为了保证液压系统的稳定性、可靠性、可维护性,液压系统中,在关键部位设有压力检测点。设有可拆卸的压力检测表,通过压力检测点可以快速的诊断液压机出现的故障和监测封头冲压成型液压机的工作状态。
3、封头拉伸机-4500吨封头模压机-封头冲压成型液压机液压系统的动力部分由上下三个油箱组成。上油箱布置于上梁后部或置于上梁顶部,为设备拉伸油缸和压边油缸提供动力油。下油箱1置于地面以下,为顶出旋转装置及提升夹紧缸部分提供动力油。下油箱2放置在上料机构上,为上料机构中的油缸提供动力油。

封头拉伸机-4500吨封头模压机-封头冲压成型液压机的组成:
1、封头拉伸液压机机身采用四柱或预紧分体框架式结构。一般成形件的封头拉伸液压机采用四柱式,结构简单,经济实用,以四立柱为导向。精度要求较高的封头件采用预应力框架结构,以四角八面平面导轨导向,导向精度高,抗偏载能力强。
2、封头拉伸机-4500吨封头模压机-封头冲压成型液压机主要由主机、拉伸缸、压边缸、液压系统、电气系统、润滑系统、冷却系统等部分组成。其中主机包括上横梁、下横梁、立柱、螺母、拉伸滑块、压边滑块、移动工作台等。其机身通过16个螺母、四根立柱连接成具有足够刚度和强度的封闭结构,拉杆采用液压预紧方式紧固,确保整机刚性。
3、上横梁内装有主油缸组件,拉伸滑块和压边滑块安装于上下梁之间,拉伸滑块上平面与主油缸组件通过螺栓连接,拉伸滑块下平面安装拉伸模具连接筒,连接筒由快换油缸夹紧,压边缸安装在拉伸滑块内,下端通过法兰连接压边滑块,压边滑块内安装有快换模圈装置。下横梁内装有顶出旋转装置,用于工件拉伸完成后顶出和旋转涂油,在下横梁上平面装有移动工作台及其提升夹紧装置、定位装置、贴合检测装置。立柱与滑块的导向采用合金材料,硬度高,耐磨性好,导向精度高。
4、拉伸部分采用三缸结构,压边部分通常采用八缸结构。为了实现模具的快速换模,实现柔性生产,封头拉伸机-4500吨封头模压机-封头冲压成型液压机可设有移动工作台,移动工作台可实现前后移动。移动工作台其驱动方式为自移式,采用变频调速,实现其快速和慢速的转换。

封头冲压成型液压机
封头拉伸机技术参数:(仅供参考)
| 技术参数 | 单位 |
YW28-630/ 1030 |
YW28-800/ 1300 |
YW28-1200/ 2000 |
YW28-1600/ 2600 |
|
| 公称力 | KN | 10300 | 13000 | 20000 | 26000 | |
| 拉伸力 | KN | 6300 | 8000 | 12000 | 16000 | |
| 压边力 | KN | 4000 | 5000 | 8000 | 8000 | |
| 液压垫力/顶出力 | KN | 2500 | 2500 | 5000 | 5000 | |
| 打料力 | KN | 500 | — | 200 | — | |
| 拉伸滑块行程 | mm | 1300 | 1400/1300 | 1500 | 1500 | |
| 压边滑块行程 | mm | 1200 | 1400/1200 | 1200 | 1200 | |
| 液压垫行程 | mm | 350 | 650/350 | 400 | 400 | |
| 拉伸滑块尺寸 | 左右 | mm | 2500 | 2700 | 3800 | 2800 |
| 前后 | mm | 1500 | 1600 | 1900 | 1600 | |
| 压边滑块尺寸 | 左右 | mm | 3200 | 2500/4000 | 4500 | 3500 |
| 前后 | mm | 2200 | 2200 | 2500 | 2200 | |
| 液压垫尺寸 | 左右 | mm | 2400 | 1500/2500 | 3600 | 2365 |
| 前后 | mm | 1420 | 1500/1500 | 1850 | 1450 | |
| 工作台尺寸 | 左右 | mm | 3200 | 2500/4000 | 4500 | 3500 |
| 前后 | mm | 2200 | 2200 | 2500 | 2200 | |
| 拉伸滑块开口 | mm | 2200 | 2300/2000 | 2100 | 2200 | |
| 压边滑块开口 | mm | 2200 | 2300/2000 | 1800 | 1900 | |
| 拉伸滑块速度 | 快下 | mm/s | 270 | 200/300 | 350 | 350 |
| 工作 | mm/s | 10~30 | 11-20/12-30 | 20-40 | 15-33 | |
| 回程 | mm/s | 250 | 110/250 | 330 | 330 | |
| 压边滑块速度 | 快下 | mm/s | 270 | 300 | 350 | 350 |
| 工作 | mm/s | 15-40 | 15-32 | 40 | 37 | |
| 回程 | mm/s | 250 | 250 | 330 | 330 | |
| 主电机功率 | KW | 155 | 108/180 | 320 | 330 | |
山东威力重工机床有限公司设计生产的封头拉伸机-4500吨封头模压机-封头冲压成型液压机设备,具有四柱和框架式两种形式,可作多缸式和单缸式。该机结构由压边块,拉伸滑块和液压垫三部分组成。适用于复杂零件和偏心载荷零件的拉深成形,如是拉深,弯曲,成型等,能够满足单动、双动等工艺要求。配合液压垫工作,能实现正拉深、反拉深、复合拉深、二次拉深等多种成型工艺。采用闭式组合框架,液压预紧机身结构,保证机身刚度,机身采用四角八面导轨结构,导向精度高,抗偏载能力强,且精度保持性好。采购定做大型封头液压机设备,客户可来公司先实地考察公司实力,与技术面谈,前期咨询,也可以在于公司电话咨询张经理:18306370898(可加微信)
上一篇:上一篇:800吨集装箱板拉伸成型液压机冲压一体成型工艺
下一篇:下一篇:拉伸1.5mm厚不锈钢盒子一次成型用800吨四柱液压机






